您好,欢迎访问中国给水排水登录 | 注册
当前位置: 首页 > 新闻资讯 > 行业资讯
企业新闻 行业资讯 政策法规 标准规范 行业会展
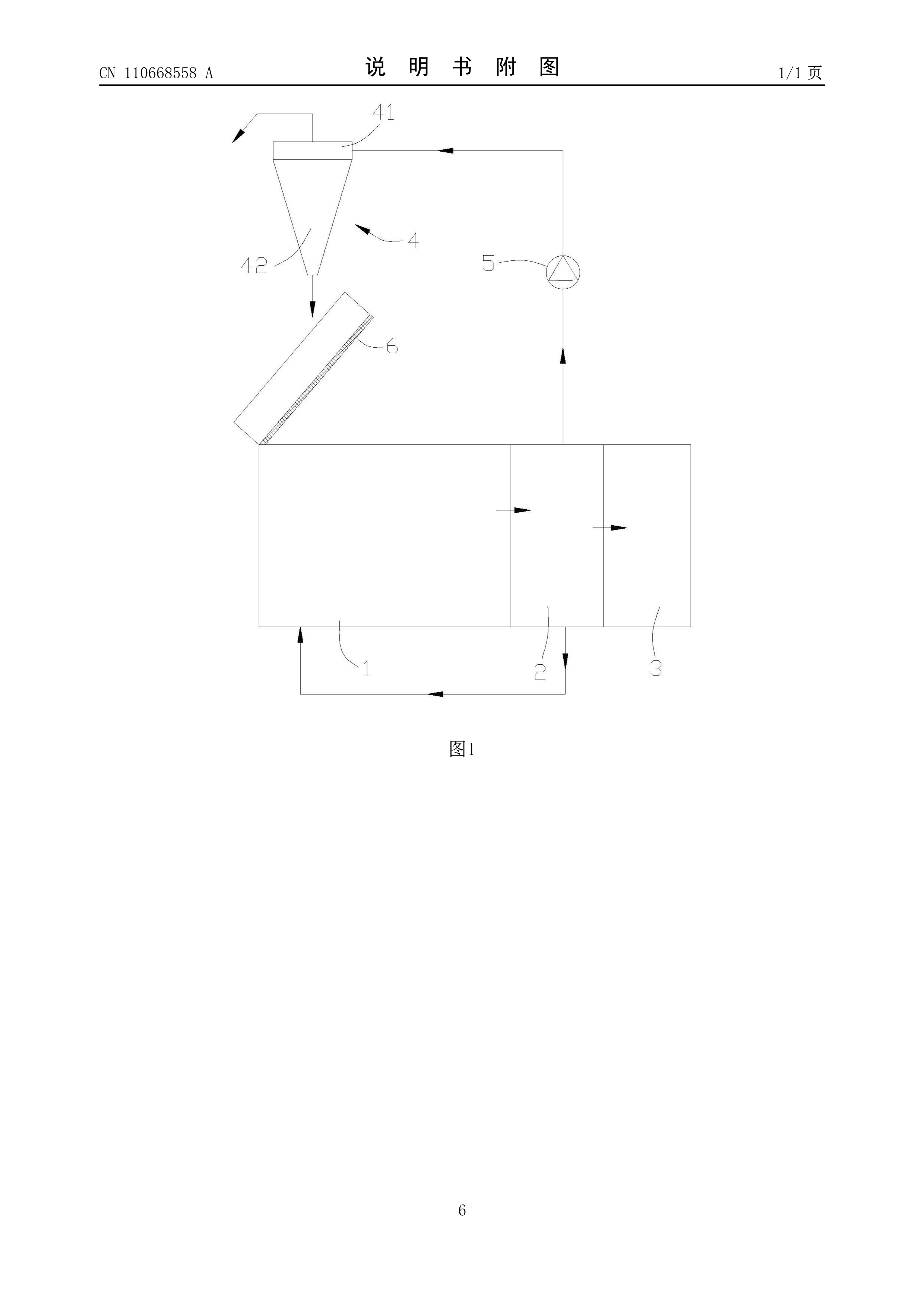
HPB城镇污水处理中符合粉末载体的回收系统
2020-04-18 21:28       来源:三友环保公司       作者:       分享:


在线投稿系统
Welcome to the online submission and editorial system for China Water & Wastewater.
热读排行
1
2020年中国城镇污泥处理处置技术与应用高级研讨会同期召开中国无废城市建设及固废资源化利用大会邀请函
2020年中国城镇污泥处理处置技术与应用高级研讨会同期召开中国无废城市建设及固废资源化利用大会邀请函
2
3403家 2018年河北省重点排污单位名录(1001-2500)
3
3403家 2018年河北省重点排污单位名录(2501-3403)
4
杜邦水处理亮相2019上海国际水展,诠释水的无限可能
5
2019年污泥处理与资源利用国际高峰论坛 暨国际标准化组织(ISO)污泥处理和利用标准工作组会议
6
广东省城镇污水处理厂提质增效三年目标
7
3403家 2018年河北省重点排污单位名录(1-1000)
8
李杰翔调研主城区水资源保护与再生水利用工作
9
唐建国:如何做好城市排水管网的提质增效
10
中西部城镇污水垃圾处理工作提速 探索实行差别化垃圾处理收费
11
《湖南省城乡生活污水治理PPP项目操作指引》发布
12
2019年上半年建筑业发展统计分析
13
连续流好氧污泥颗粒化:No longer a dream!
14
曼谷唐人街启动首个顶管冲压排水系统
15
住建部发布《农村生活污水处理工程技术标准》 12月1日施行
16
央企加速入场环保行业 首创集团携手三峡集团保护长江生态环境
17
中国给水排水2020年中国城镇污泥处理处置技术与应用高级研讨会 (第十一届)邀请函暨征稿启事
18
2019年天津市科学技术奖授奖决定:特等奖6项,一等奖23项(名单)
19
博天环境亏本甩卖“亲儿子”股权,近两月水务行业收并购案例一览!
20
王洪臣:不要让不切实际的排放标准阻碍农村污水治理
21
首届亚洲环境治理研讨会在昆明举行
22
住建部《农村生活污水处理工程技术标准》
23
报名 | 供水企业管理人员高级研修班(第三期)开启对外招生!
24
中国节能余红辉:让天更蓝、山更绿、水更清、生活更美好!
25
三峡集团:从开发长江到保护长江
26
5.2亿!国际巨头胜科水务长期偷排废水,被开出中国环保史上最大罚单!
27
生活垃圾焚烧飞灰污染控制技术规范(征求意见稿)
28
曲久辉:中国城市污水处理的发展历程及未来展望
29
太原市中心城区污水排放总量调查
30
北京国际水展盛大开幕 十年发展铸辉煌砥砺奋进再出发
31
第三批城市黑臭水体治理示范城市竞争性选拔结果公示
32
打击围标串标!2019年“围标串标”典型案例披露......
33
国务院取消造价资质审批,对造价工程师有何影响?
34
通报!5家环评单位及其环评工程师,2家单位及编制主持人限期整改6个月,3家审批申请被暂停,技术整改6个月
35
跨界打劫来了?阿里与中规院联手中标雄安BIM管理平台第一标
36
财政部令第101号——政府采购信息发布管理办法 ,自2020年3月1日起施行
37
新型冠状病毒引起的肺炎疫情期间水厂生产运行指导意见(试行)
38
2019科创板环保上市公司盘点
39
历时三年,全长41公里!太原汾东污水处理厂主干管全线通水
40
紫外杀菌灯在防护2019新型冠状病毒传播中的应用
关键词
返回首页 | 人才招聘 | 广告征订 | 联系我们 | 订阅中心 |
地址:天津市和平区新兴路52号都市花园大厦21层
商务热线:022-27835639 传真:022-27835592 E-mail: cnwater@vip.163.com
Copyright © 2019《中国给水排水》杂志社有限公司 版权所有 津ICP备20004590号 津公网安备 12010102000028号 本站推荐IE8.0及以上浏览器1024×768以上分辨率浏览